|
一、SK型直聯水環式真空泵概述:
SK型直聯水環式真空泵包含SK-0.4、SK-0.8 、SK-1.0 、SK-1.5B四個規格,是用來抽吸空氣和其它無腐蝕性,不溶于水、不含有固體顆粒的氣體,以便在密閉容器中形成真空。吸入氣體中允許混有少量液體。
二、SK型直聯水環式真空泵特點:
SK直聯式水環真空泵可直接從大氣壓起動抽氣。機泵同軸、結構緊湊、維修方便、銅葉輪材質。
三、SK型直聯水環式真空泵使用范圍:
SK型直聯式水環真空泵廣泛用于電子器件制造、真空干燥、真空蒸發、真空濃縮、真空回潮、真空浸漬、進濾、浸漬、涂臘、焊接、冶煉、化工、輕工、石油、醫療、制藥、印染、半導體、食品、原子能、紡織等科研機關、大專院校、工礦企業。SK型直聯水環式真空泵不可用來抽含氧過高的、有毒的、易爆的或與泵油發生化學作用的氣體,也不可當作壓縮機或傳輸泵使用。 |
四、SK型直聯水環式真空泵的型號意義:

五、SK型直聯水環式真空泵的技術參數表: |
型號 |
最大氣量
M3/MIN |
真空度450MMHG
時氣量M3/MIN |
極限真空
MMHG |
轉速
R.P.M |
電機功率
KW |
水耗量
L/MIN |
SK-0.4 |
0.4 |
0.36 |
700 |
2860 |
1.5 |
4-8 |
SK-0.8 |
0.8 |
0.75 |
700 |
2860 |
2.2 |
5-10 |
SK-1.0 |
1.0 |
1.0 |
700 |
2860 |
3.0 |
6-8 |
SK-1.5B |
1.5 |
1.35 |
700 |
2860 |
4.0 |
8-12 |
|
注:SK型直聯水環式真空泵性能表中數據在下列條件下得出:
1、大氣壓力0.1013Mpa(760mmHg)
2、進水溫度15℃
3、吸入空氣溫度20℃
4、空氣相對濕度70%
5、性能允許偏差±10% |
六、SK型直聯水環式真空泵的性能曲線圖:
 |
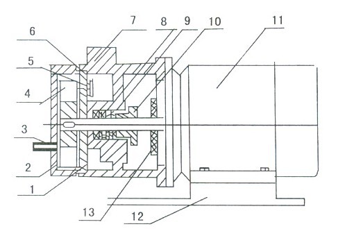
| 七、SK型直聯水環式真空泵結構說明: |
|
1、圓盤 |
2、泵蓋 |
3、進水管 |
4、葉輪 |
5、橡膠球 |
6、擋板 |
7、泵體 |
8、封液環 |
9、填料 |
10、填料壓蓋 |
11、電機 |
12、底盤 |
13、擋水圈 |
|
|
SK型直聯水環式真空泵的結構如圖(1)所示:主要是由泵蓋、葉輪、泵體組成,泵體上部有進排氣口法蘭,軸偏心裝在泵體內,葉輪用平鍵固定于軸上,葉輪與泵蓋及圓盤間的間隙,用泵體和圓盤之間間的墊子來調整,此間隙決定氣體在泵內由進氣口至排氣口流動中損失的大小。
SK型直聯水環式真空泵填料裝在泵體內,密封水經泵體上的針孔流入填料中,葉輪形成水環所需的補充水經由泵體上的彎頭供給,它可與自來水或汽水分離器聯在一起,供給循環水。
在SK型直聯水環式真空泵圓盤上排氣孔下面有幾行圓孔,用橡皮球閥關閉,這些孔的作用是當葉片間氣體壓力達到排氣力時,在排氣口之前就將氣體自動放出,因此減少因氣體壓力過大而消耗功率。 |
| 八、SK型直聯水環式真空泵的工作原理: |
|
如圖(2)所示,葉輪偏心地安裝在泵體內,SK型直聯水環式真空泵起動時,向泵內注入一定高度的水,當葉輪旋轉時,水受離心力的作用而在泵體內壁形成一旋轉水環,水環下部內表面與輪轂相切,沿箭頭方向旋轉時,在前半轉過程中,水環內表面逐漸與輪轂脫離,因此在葉片間形成空間并逐漸擴大,內部壓力低于入口處壓力,此時吸入氣體。在后半轉過程中,水環內表面逐漸與輪轂靠近,葉片間的空間容積縮小,氣體壓力高于大氣壓時被排出。如此葉輪反復工作,SK型直聯水環式真空泵就連續不斷地抽吸氣體。
由于在工作過程中,水會隨工作時間的延續而發熱,同時部分水會與氣體一起被排出,因此,工作過程中須不斷地向SK型直聯水環式真空泵內供給冷水,以冷卻和補充泵內消耗的水。 |
九、SK型直聯水環式真空泵的安裝尺寸圖:
1、用膠管或塑料管將水咀(見圖1中3)與自來水連接進行供水,并在此供水管路上安裝水閥調節水量。(供水量的大小對其性能有直接的影響)
2、真空泵用來作水泵引水用時,應將吸氣口聯接在水泵的排水口與管路閥門之間。
3、從電機端看泵為逆時針旋轉。(左邊為吸氣口,右邊為排氣)。SK-1.5B為順時針旋轉。
4、真空泵吸氣管道不可有漏氣現象,其地基尺寸以安裝圖或以實物測量進行安裝。
5、若安裝汽水分離器,可參看圖(3)。 |
|
十、SK型直聯水環式真空泵的使用維護:
1、SK型直聯水環式真空泵啟動前,須檢查電機旋轉方向是否與泵的旋轉方向相符。啟動真空泵后,再調節進水量的大小,然后檢查填料壓緊是否適當 (填料正常壓緊是能夠使泵中的水成滴的向外漏出),SK-1.5B應先加水再啟動真空泵,再調節進水量的大小,軸承運轉潤滑是否正常。
2、SK型直聯水環式真空泵啟動以后,須觀察是否有振動,細聽泵內是否有雜聲,并測定填料函和軸承溫度(正常軸承溫度不得比環境溫度高出35℃,工作溫度不得高于70℃)若溫度超高,應立即停車檢查原因。
3、SK型直聯水環式真空泵作為水泵真空引水用時,其運轉期間將水泵內的空氣全部吸出,直到水泵內吸出水來以后,即開動水泵,待水泵正常工作后將真空泵停車,并將吸氣管路的閥門關閉。
4、SK型直聯水環式真空泵停車順序:
(1)關閉進氣管路上閘閥
(2)關閉供水管路上閘閥,停水后不宜立即停泵,應使泵繼續運轉1-2分鐘排出部分工作液。機械密封應先停泵再停水。
(3)關閉電動機。
(4)如果停車時間超過一天,須將SK型直聯水環式真空泵泵蓋底部的螺塞打開,將泵體內水放凈。
5、SK型直聯水環式真空泵在下列條件下使用時,應加附屬設備。
(1)被告抽除空氣或氣體中含有灰塵,必須在進氣管上安裝過濾器。
(2)被抽氣體中含有大量蒸氣時,必須在進氣管上安裝冷凝器。
(3)抽除帶有腐蝕性氣體時,在進入泵前必須進行中和。
(4)被抽氣體的溫度超過35℃時,在進入SK型直聯水環式真空泵前必須經過冷凝裝置,以保證溫度不超過35℃。
(5)被抽氣體中含有大量液體時,必須在進氣管前裝汽水分離器。
(6)泵的起動電流往往是電機額定電流幾倍,必須配用起動開關。
注:①本公司SK型直聯水環式真空泵隨技術改進等原因,不經預告可變更。
②本公司SK型直聯水環式真空泵在保修期內不經本單位允許,不得隨意拆卸。
十一、SK型直聯水環式真空泵起動、停車與維護:
(1)SK型直聯水環式真空泵起動:
經過長期停車的泵在開動以前,必須用手轉動聯軸器數周,以便證實沒有卡住或損傷現象。
1.關閉進氣管上的閘閥。
2.如果排氣管上裝有閘閥也應將其關閉。
3.向填料函和氣水分離器內注水。
4.當氣水分離器往外溢水時,開動電動機。
5.全開由氣水分離器向泵給水管路上的球形閥。
6.打開排氣管上的閘閥。
7.打開進氣管上的閘閥。
8.用球形閥調整由氣水分離器向泵送水的水量,以便在所要求的技術條件下下運轉,使功率功耗最小。
9.調整由進水管向氣水分離器的送水量,以便用最小的水量消耗,保證SK型直聯水環式真空泵所要求的技術規范。
10.調整向填料函的送水量,以便用最小的水量消耗保證填料函的密封性,SK型直聯水環式真空泵在極限真空度下工作時,由于泵內產生物理作用而產生爆炸聲,但功 率消耗量并不增大。隨著功率消耗的提高而產生的爆炸聲,表示泵發生了毛病,此時SK型直聯水環式真空泵應停車。
(2)SK型直聯水環式真空泵停車,停車按以下順序:
1.關閉進氣管上的閘閥。
2.關閉排氣管上閘閥。
3.關閉電動機。
4.停止向填料、氣水分離器內注水。
5.當氣不分離器溢水管停止向外溢水后,關閉向泵注水管路。
6.上緊球形閥。
7.如SK型直聯水環式真空泵停車時,必須擰開泵及氣水分離器上的管堵把水放凈。
(3)SK型直聯水環式真空泵維護:
1.應定期的壓緊SK型直聯水環式真空泵填料,如填料因磨損而不能保證所需要的密封性時,應換新填料,填料不能壓的過緊,正常壓緊的填料允許水成滴漏出,其量不得太多,應用油浸的石棉繩作填料。
2.經常檢查SK型直聯水環式真空泵滾球軸承的工作和潤滑情況。
3.正常工作的滾動軸承,其溫度比周圍溫度高15℃~20℃,最高不允許超過55℃~60℃,正常工作的軸承每年應裝油3~4次。每年至少清洗SK型直聯水環式真空泵軸承一次,并將潤滑油全部更換。 |
SK型直聯水環式真空泵選型須知:
一、請提供以下詳細數據:①SK型直聯水環式真空泵的產品名稱與型號②SK型直聯水環式真空泵的真空度要求單位PA或MPA③SK型直聯水環式真空泵抽速要求單位L/S或M3/MIN④SK型直聯水環式真空泵的使用與否和工作條件⑤SK型直聯水環式真空泵的電機功率(KW)⑥SK型直聯水環式真空泵的轉速(r/min)⑦SK型直聯水環式真空泵的電壓〔V〕⑧SK型直聯水環式真空泵的進出口口徑⑨SK型直聯水環式真空泵的材質要求⑩SK型直聯水環式真空泵是否帶附件,以便我們的為您正確選型。
二、若已經由設計單位選定我公司的SK型直聯水環式真空泵的產品型號,請按SK型直聯水環式真空泵型號直接向公司銷售部訂購。
三、當使用的場合非常重要或環境比較復雜時,請您盡量提供設計圖紙和詳細參數,由我們的技術專家為您選型確認。
上海飛魯真空泵廠有限公司主要真空泵產品有:旋片式真空泵系列、水環式真空泵系列、往復式真空泵系列、羅茨真空泵系列、滑閥式真空泵系列、水噴射真空泵系列、擴散泵系列、真空機組系列等泵類產品及真空泵配件,我公司擁有豐富的生產歷史,技術精良,產品質量穩定可靠,公司恪守“以誠信,市場,互利”的宗旨,重合同,守信用。為您提供優質的產品、良好的服務,做您忠實可靠的合作伙伴, 竭誠歡迎各界新老朋友前來光臨洽談合作!
我公司免費咨詢電話:400-021-5161
感謝您訪問我公司的網站,如有任何疑問.您可以致電給我們,我們一定會盡心盡力為您提供優質的服務。
相關水環式真空泵系列:
2BV型水環式真空泵
2BE型水環式真空泵
SK型水環式真空泵
SK型直聯水環式真空泵
2SK型水環式真空泵
SZ型水環式真空泵
SZB型水環式真空泵
|